Connect with us
DAPA Banner

Tech

Broken VECT 2.0 ransomware acts as a data wiper for large files

Published

on

Broken VECT 2.0 ransomware acts as a data wiper for large files

Researchers are warning that the VECT 2.0 ransomware has a problem in the way it handles encryption nonces that leads to permanently destroying larger files rather than encrypt them.

VECT has been advertised on one of the latest BreachForums iterations, inviting registered users to become affiliates, and distributing access keys via private messages  to those who showed interest.

At some point, VECT operators announced a partnership with TeamPCP, the threat group responsible for the recent supply-chain attacks impacting Trivy, LiteLLM, and Telnyx, as well as an attack against the European Commission.

image

In the announcement, VECT operators stated that their goal was to exploit victims of those supply-chain compromises, deploying ransomware payloads in their environments, as well as to conduct larger supply-chain attacks against other organizations.

VECT operators' post on BreachForums
VECT operators’ post on BreachForums
Source: Check Point

Faulty ransomware

While this is meant to increase encryption speed for larger files, because all chunk encryptions use the same memory buffer for the nonce output, each new nonce overwrites the previous one.

Once all chunks are processed, only the last nonce generated remains in memory, and only that one is written to disk.

Advertisement

As a result, the only portion of the file that is recoverable is the last 25%, with the previous three parts being impossible to decrypt, as the nonces have been lost.

Those lost nonces aren’t transmitted to the attacker either, so even if VECT operators wanted to decrypt the files for victims paying the ransom, they wouldn’t be able to.

Flawed nonce handling logic
Flawed nonce handling logic
Source: Check Point

While this is meant to increase encryption speed for larger files, because all chunk encryptions use the same memory buffer for the nonce output, each new nonce overwrites the previous one.

Once all chunks are processed, only the last nonce generated remains in memory, and only that one is written to disk.

As a result, the only portion of the file that is recoverable is the last 25%, with the previous three parts being impossible to decrypt, as the nonces have been lost.

Advertisement

Those lost nonces aren’t transmitted to the attacker either, so even if VECT operators wanted to decrypt the files for victims paying the ransom, they wouldn’t be able to.

The VECT 2.0 ransom note
The VECT 2.0 ransom note
Source: Check Point

Check Point notes that, since most valuable enterprise files, including VM disks, database files, and backups, are above 128kb, VECT’s impact as a data wiper can be catastrophic in most environments.

“At a threshold of only 128 KB, smaller than a typical email attachment or office document, what the code classifies as a large file encompasses not just VM disks, databases, and backups, but routine documents, spreadsheets, and mailboxes. In practice, almost nothing a victim would care to recover falls below this boundary,” Check Point says.

The researchers found that the same nonce-handling flaw is present across all variants of the VECT 2.0 ransomware, including Windows, Linux, and ESXi, so the same data-wiping behavior applies across all cases.


article image

AI chained four zero-days into one exploit that bypassed both renderer and OS sandboxes. A wave of new exploits is coming.

At the Autonomous Validation Summit (May 12 & 14), see how autonomous, context-rich validation finds what’s exploitable, proves controls hold, and closes the remediation loop.

Advertisement

Claim Your Spot

Source link

Continue Reading
Click to comment

You must be logged in to post a comment Login

Leave a Reply

Tech

How Apple Vision Pro allows for collaborative cataract surgery

Published

on

The Apple Vision Pro has proven to be a useful tool for cataract surgery.

The Apple Vision Pro continues to prove its potential in the medical field, with the headset now seeing use for cataract surgeries in New York.

Priced at $3500, the Apple Vision Pro was never going to be a hit consumer product. Still, Apple’s spatial computing device has found limited success in the healthcare industry, a market the company had in mind from the get-go.

Surgeons have praised the Apple Vision Pro for its high-resolution images and ergonomics. The headset has been used in all sorts of medical and surgical procedures, including colonoscopies, a shoulder arthroscopy, and it’s now even proven to be useful for cataract surgeries.

Advertisement

Dr. Eric Rosenberg of SightMD was able to successfully perform cataract surgery using the Apple Vision Pro. In October 2025, he became the first surgeon in the world to conduct this sort of operation with the help of Apple’s spatial computing headset.

How the Apple Vision Pro has improved cataract surgery

Since then, the Apple Vision Pro has seen use in hundreds of additional cases, thanks to ScopeXR, a mixed reality surgical platform co-created by Dr. Rosenberg.

The software is specially designed for ophthalmic surgery, offering integration with 3D digital surgical microscopes via HDMI, USB, and wireless NDI protocols.

In short, ScopeXR lets surgeons view a live stereoscopic feed from surgical microscopes, along with diagnostic data. This feed can be forwarded to medical professionals, consultants, mentors, and students from around the world, allowing for virtual collaboration via two-way audio.

Advertisement

Dr. Eric Rosenberg described ScopeXR as a software platform that makes surgeons “safer, smarter, and more connected.”

“What we accomplished in that operating room is something that has never been done before anywhere in the world,” added Dr. Rosenberg. “This isn’t just about a new device, it’s about reimagining what the operating room of the future looks like.”

Commenting on the collaborative potential of the Apple Vision Pro and ScopeXR, Dr. Rosenberg said that it’s now possible to “bring the world’s best surgeon into any operating room, at any hour, from anywhere on the planet.”

The Apple Vision Pro has other medical applications

Though cataract surgery with the Apple Vision Pro is undoubtedly an impressive endeavor, it’s not entirely unexpected.

Advertisement
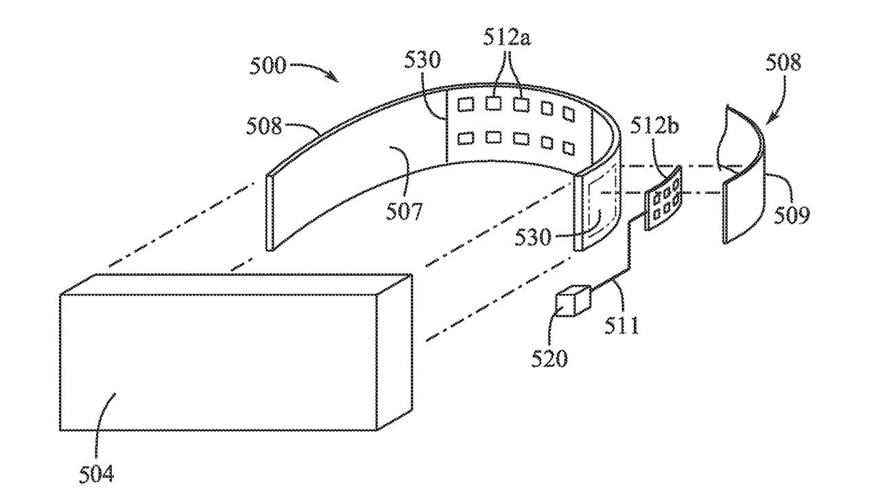
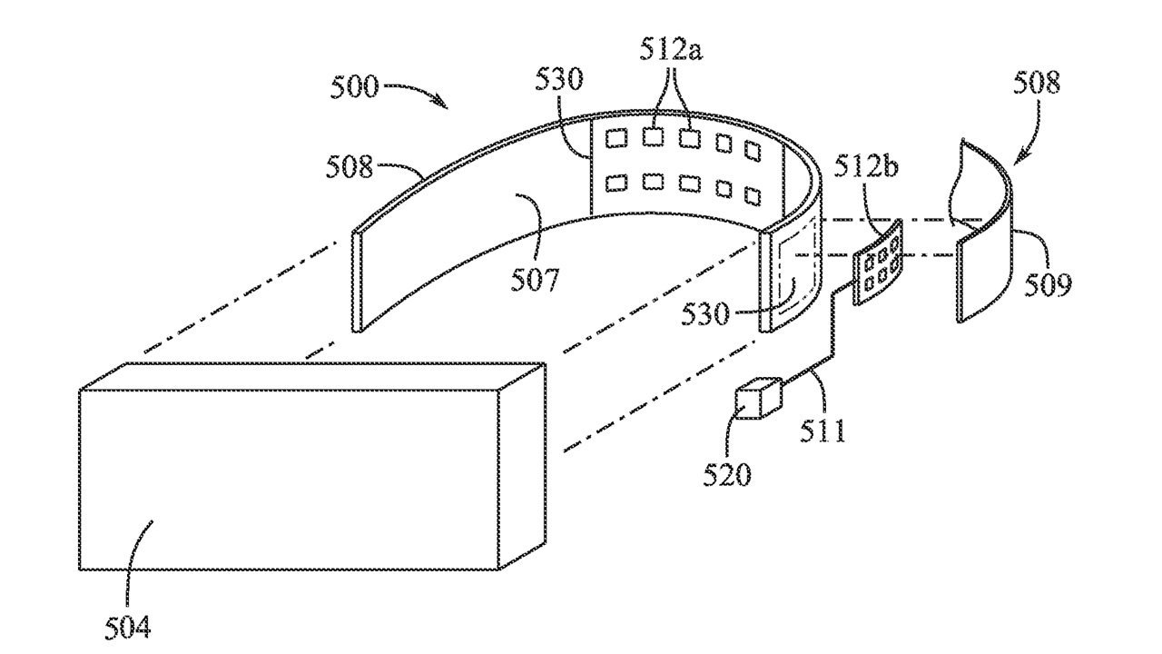
Technical patent diagram of a curved wearable electronic band with internal sensor array, detachable end module, and small external component, all shown in exploded, labeled view.

Detail from an Apple patent researching other ways to use Apple Vision Pro sensors to help read brainwaves, suggesting an interest in medical-related applications.

The spatial computing headset has already been used for various procedures in the United States and elsewhere, and its wear time in the operating room will likely continue to increase.

In the UK, for instance, the Apple Vision Pro was used for a spinal fusion operation, and it has also helped patients visualize complex operations and procedures to better understand them.

Apple’s spatial computing headset has additional potential for patient care. An October 2025 study explored using the Apple Vision Pro to help people with spinal cord injuries or ALS communicate. Apple itself has also been researching the use of brainwave sensors for the Apple Vision Pro.

Advertisement

As the Apple Vision Pro continues to evolve, we might see additional applications across the healthcare industry. visionOS, meanwhile, is set to receive an update at WWDC 2026, which starts on June 8.

Source link

Advertisement
Continue Reading

Tech

This Is Tim Cook’s Biggest Regret From His Time At Apple

Published

on





The announcement that Tim Cook would step down from his longtime role as Apple CEO in September 2026 felt, in some ways, less like an organizational change and more like a royal succession. Cook stepped into the shoes of a giant in 2011, replacing the late Steve Jobs following the founder’s untimely passing. By all market metrics, his reign was a phenomenal success, catapulting Apple to become the first trillion-dollar company by 2018 and the first to reach three trillion in 2024.

But Cook’s legacy is not pure marble. His talents are firmly rooted in services and supply chains, and many of Apple’s financial gains were made through a ruthless streamlining of the company’s logistics, the construction of a walled garden around its products that made switching costs too high for customers to bear, and hefty stock buybacks. In other words, Cook was good to investors, even at the cost of customer experience. Though Cook is staying on as chairman of the board, he will be succeeded by John Ternus, an Apple veteran who currently serves as the company’s senior vice president of hardware engineering, and tech analysts have taken his selection as a promising sign for what has been perceived in some corners as a baffling decline in Apple’s historically famous focus on product perfectionism.

Cook’s farewell tour has seen him reminisce about the regrets accumulated during his tenure as CEO of Apple. In an all-staff town hall, he admitted to slipping up during the infamously sloppy Apple Maps rollout, but touted the success of other products launched under his auspices. What he left out, however, is even more revealing. Here’s how Cook’s calculated confessions conveniently cover up more glaring issues.

Advertisement

Tim Cook regrets the Apple Maps rollout

As reported by Bloomberg, Tim Cook held a town hall for Apple employees on April 21, shortly after the announcement of his succession as CEO. During the event, Cook circumspectly claimed that the largest regret he has from his time at the helm is the notoriously sloppy rollout of Apple Maps. The app launched in 2012 to great fanfare, giving Apple users a way to break free of Google’s stranglehold on the GPS navigation market. But it quickly became clear that the app was flawed in multiple ways. “The product wasn’t ready,” Cook said during the recent meeting. That’s quite the understatement.

On the humorous side, Apple Maps’ 3D features were broken out of the gate, with landmarks such as the Brooklyn Bridge appearing to melt into the pavement beneath it. On the more serious side, navigation was riddled with errors that put users in danger. In one instance, several tourists in Australia were stranded for over 24 hours in the Murray-Sunset National Park, without food or water, after Apple Maps mistakenly told them they were headed to the city of Mildura, which was actually 40 miles away (via The Guardian). 

Advertisement

The situation was so disastrous that Cook was forced to make a public apology — something that was, and is, quite uncharacteristic for the company. Consider, for example, that its response to the iPhone 4’s so-called antennagate was to tell customers to hold the phone differently if it stopped working. Perhaps to balance things out, Cook also lauded the Apple Watch as one of his proudest moments, notably touting the device’s life-saving capabilities.

Advertisement

Tim Cook is skimming over more recent failures

There’s no denying that the botched Maps rollout is among Apple’s most memorable and public failures. It may truly be Tim Cook’s greatest regret, but it’s also the savviest one to discuss. It’s been a long time, for one, and bringing it up 14 years later is unlikely to harm either Apple or Cook’s reputations. Second, it’s a mistake Cook is already on record apologizing for, which means he can talk about it without eating any fresh crow. That’s not the case for more recent missteps in the 2020s.

Apple has struggled to jump on the AI bandwagon, ultimately opting to buy its AI smarts from Google rather than go it alone. That led to the revelation that there had been open internal warfare between redundant AI teams, with entire celebrity ad campaigns promising features that never materialized. The scandal led to a class-action lawsuit for false advertising and ultimately to the departure of several high-ranking officers. In 2024, the company launched the Vision Pro mixed reality headset to much fanfare, only for the $3,500 gadget to become a niche curio rather than the next evolution of computing its marketing materials promised.

And then there’s the massive antitrust lawsuit filed by the U.S. Department of Justice, which alleges that Apple has deliberately built an ecosystem that illegally traps users within its walled garden. Apple has spent the better part of two decades under Cook’s tenure making sure that life is as painful as possible for anyone who tries to use an iPhone or Mac alongside competing devices like an Android phone or Windows PC. That contempt for Apple’s users may overshadow Cook’s many victories and stand as his ultimate legacy.

Advertisement



Source link

Continue Reading

Tech

Peacock’s Priciest Subscription Is Now on the Roku Channel

Published

on

Peacock‘s ad-free Premium Plus offering joined Prime Video last year, and now US customers can sign up on the Roku Channel to stream seasons of Love Island USA, live sports and more.

Like with Prime Video‘s add-on subscriptions, the new Roku Channel premium subscription is an alternative to getting Premium Plus directly through Peacock. The price is the same, at $17 per month or $170 per year, but you can watch all your premium Roku subscriptions with a single sign-in on your Roku device, mobile app or the web. 

The goal is for premium subscribers to have an experience that makes it easier to find and watch shows and movies without having to keep track of multiple apps, accounts and logins, according to Gil Fuchsberg, Roku president of subscriptions, partnerships and corporate development. 

Advertisement

Roku is introducing its first Cloud DVR features alongside the Peacock launch. Now, when you watch live sports content from NBCUniversal’s streaming service, you can pause or replay it.

Roku and NBCUniversal’s existing partnership already includes the Peacock app and free ad-supported channels on Roku. If you’re looking for even more ways to sign up for Peacock, there’s also the Apple TV and Peacock bundle, which offers the pair at a reduced price and is available directly through Apple TV, Peacock or Prime Video. You can also sign up for one of Peacock’s cheaper plans outside of Prime Video or Roku.

Source link

Advertisement
Continue Reading

Tech

Four Sides Of A Coin, Joe Henderson’s Quartet-forward Tetragon Vinyl Reissue Review

Published

on

I don’t know if it can officially be called a renaissance, but there has certainly been a wave of resurgent interest in jazz saxophonist Joe Henderson in recent years including numerous reissues of sought after Blue Note rarities as well as live archival releases. Craft Recordings, via its soul-jazz-centric subsidiary Jazz Dispensary, recently kicked off its new “Top Shelf” series celebrating the label’s 10th Anniversary by reissuing Henderson’s much sought after 1968 Milestone Records release Tetragon.  

Long-out-of-print, the geometrically titled-themed album celebrates the four-sided universe of the quartet, showcasing effectively two different 4×4 (if you will) groupings of stellar instrumentalists. Featured are drummers Jack DeJohnette and Louis Hayes as well as pianists  Kenny Barron and Don Friedman. Bassist Ron Carter provides grounding glue along with Henderson to deliver a seamless album listen of remarkable continuity. 

cr00968-joe-henderson-tetragon-hype-sticker

Another audiophile joy worthy of the Craft/Jazz Dispensary branding, Tetragon features all-analog mastering by Kevin Gray at Cohearent Audio and is pressed on 180-gram vinyl at Fidelity Record Pressing in Oxnard, California (you can read more about this newer but top rated pressing facility at their website here). A quality production inside and out, the tip-on style cover features heavy duty sturdy cardboard and a beautiful laminated cover which makes the eye catching pop-art cover design look as good (and maybe even better than!) the rare originals. 

As far as I can tell the only difference is that original pressings (as seen in online photos) had a more blue-ish label color than the lavender-purple variant on the new edition.

cr00968-joe-henderson-tetragon-lp-label

That said, a quick look at Discogs underscores Tetragon‘s scarcity, with only five original copies available in the United States at the time of this writing in at best VG+ condition with prices in the $200-300 range.  

Musically, Tetragon focuses on post-bop sounds. While the title track at first may feel a bit angular, after a few listens I’ve found its melodic charms welcoming.  Sequentially, it makes perfect sense to follow it with the Bill Evans-meets-Dave-Brubeck-esque “Waltz For Sweetie.” This sets the stage for Ron Carter’s subtly swinging “First Trip” and then wrapping with Cole Porter’s familiar classic “I’ve Got You Under My Skin.”  

Advertisement

I think you get the idea that all the parts of Tetragon fit together neatly like a puzzle which you can hear in full flower on “The Bead Game.” A showcase for group’s connection and inspired improvisation, this is perhaps the most outside track on the album floating somewhere between  the more dissonant spaces of mid period Coltrane and early Chick Corea or perhaps Keith Jarrett 

cr00968-joe-henderson-tetragon-back

While I am a relative latecomer to Mr. Henderson’s music — a beautiful original mono copy of his 1966 Blue Note smoker Mode For Joe scored a couple of years back at the flea market for $10 kickstarted my interest — I’m beginning to see a pattern of excellence leading me to think that (like McCoy Tyner) there are no bad Joe Henderson albums. I’m glad to add Tetragon to my collection and am excited to continue exploring more of his catalog.  

Where to buy: $38 at Amazon

Tip: In case you missed it, you can read my review of Joe Henderson’s fine 3LP live set Consonance, which came out for Record Store Day this year, by clicking here].

Advertisement

Mark Smotroff is a deep music enthusiast / collector who has also worked in entertainment oriented marketing communications for decades supporting the likes of DTS, Sega and many others. He reviews vinyl for Analog Planet and has written for Audiophile Review, Sound+Vision, Mix, EQ, etc.  You can learn more about him at LinkedIn.

Advertisement. Scroll to continue reading.

Source link

Advertisement
Continue Reading

Tech

Payphone Tag Is Australia’s New National Sport

Published

on

Australia’s payphones are an iconic part of the national landscape, even if they’re not as important as they once used to be. However, they’re having a resurgence of late, in part thanks to a new national pastime—the sport of Payphone Tag!

Created by [Alex Allchin], the game is simple. To play, you first sign up on the website and get your emoji and 5-digit PIN. You then go out and find a payphone, dial the Payphone Tag number, and enter your PIN when prompted. This lets you “capture” the phone, raising your score in the game. If a phone is already captured, no matter—just head out there, dial the number, and key in your own PIN to steal it. You can also push your score even higher by capturing three payphones in a triangle on the map to get bonus points.

It’s a fun geospatial game that’s also free to play, because Telstra made payphone calls free back in 2022. It might cost you a bit to get out to some phones, but there are plenty you can reach with the aid of free public transport at the moment, anyway. Protip—at the time of writing, there are a ton of easy captures to be had on Kangaroo Island. It might just cost you a pretty penny to get out there. Have at it!

We’d love to see some stats from Telstra as to whether this is making a dent in overall payphone usage rates. In any case, there were 800 players in the last 7 days and a full 36,640 captures so far, so a lot is happening out there. We fully expect to see this concept spread to other nations in turn, though it might be less attractive in places where you still need to dig out a coin to make a call.

Advertisement

We’ve featured a few payphone hacks over the years. If you’re doing something rad with these telecommunication devices of yesteryear, we’d love to hear about it on the tipsline.

Source link

Advertisement
Continue Reading

Tech

Sniffies’ Users Worry About a ‘Straightification’ of the Gay Hookup App

Published

on

Of all the gay hookup apps Brennan Zubrick uses, Sniffies, a cruising app for men interested in discreet sex-positive casual encounters with other men, is by far his favorite. Some of the most popular kinks among members on the platform include edging, cum play, and BDSM. “I overwhelmingly prefer the experience I get and the community I can access,” he tells WIRED. But Zubrick, who is 40 and based in Washington, DC, has a bad feeling that could soon change.

Tinder and Hinge parent company Match Group announced on Monday an investment of $100 million into Sniffies. The deal gives Match Group a large minority share and the choice to become the sole owner later on. The announcement has set off an intense firestorm of reactions from users who are second-guessing the direction of the company and the longterm sustainability of the app.

“Sniffies has long held its market position as the little guy, catering to a specific section of the gay community, and is somewhere people who might not be comfortable with Grindr—where no face-pic, no-chat culture runs rampant—go to connect with other like-minded people in a more direct and discreet way,” Zubrick tells WIRED.

“This partnership is about supporting that, not redefining it,” Sniffies founder and CEO Blake Gallagher said in a statement, noting that the investment will help the platform focus on three key areas users want: “stronger trust and safety, expansive network growth, and continued product improvements.” According to the agreement, Match Group will offer guidance on the right roles, procedures, and tech to help Sniffies build on its trust and safety efforts.

Advertisement

But users aren’t buying what Gallagher is selling. The Instagram post announcing the news was inundated with negative reactions, as users expressed worry over the strategic partnership. “Please don’t let this be the straightification of sniffies,” expressed one. “You sold out. Plain and simple. Where we moving to next boys?” added Marc Sundstrom, a user in Philadelphia. “Partnering with Match feels very gentrified and straight. Highly concerned about the app being allowed to be what it is in order to court investors,” wrote another. By Tuesday afternoon, comments on the post had been shut off.

Though it remains to be seen how Gallagher will position Sniffies in the months ahead, already users are saying this marks the beginning of the end for the app. “Straight people shouldn’t even know what Sniffies is for fuck sake,” one wrote in the r/askgaybros subreddit. And despite promises, some say a major corporation like Match is not ethically aligned with the indie spirit of Sniffies. On LinkedIn, the top comment under Gallagher’s post questioned the real intent behind Match Group’s investment. “Interested to see how ties to Palantir affect Sniffies’ growth. Hopefully this doesn’t become a surveillance application.”

Spencer Rascoff, who became CEO of Match Group in 2025, previously served on the board of Palantir, the defense tech and data mining company that has become a “technological backbone” of the Trump administration.

Sniffies maintains that it will continue to own and control how its user data is stored, handled, and protected. According to the company, there are no changes planned to its data practices as part of the investment.

Advertisement

But the outrage underscores the significance of platforms like Sniffies and what it would mean to a community of people who already feel like they have so few quality options for seeking desire online.

“It’s a mess and obviously to be expected. It’s definitely an indicator of its fast rise, so no shade, but we saw what happened with Grindr,” says Brad Allen, a 34-year-old event producer and the creator behind Club Quarantine, who joined Sniffies in 2023. “I really am pulling for them to somehow navigate this differently since it’s essential to the cruising community now. Hopefully the pop-up Candy Crush ads don’t light up too much in the bushes.”

Source link

Advertisement
Continue Reading

Tech

GMKtec mini PCs are heavily discounted on Amazon right now

Published

on

Amazon has cut the price on a number of our favorite GMKtec mini PCs, offering big savings on top-rated compact systems that pack serious desktop power into tiny enclosures. These machines cover everything from demanding creative workloads to everyday office setups, making this one of the better mini PC sales I’ve seen recently.

Leading the pack is the GMKtec Nucbox K8 Plus with the Ryzen 7 8845HS CPU, down to $690 (was $950) at Amazon. With 32GB DDR5 RAM, a 512GB PCIe 4.0 SSD, and Radeon 780M graphics, it handles video editing, multitasking, and creative software with ease, while dual 2.5GbE ports and an Oculink interface open the door to external GPU upgrades or ultra-fast storage expansion.


Intel Core i3-10110U, it is reduced from $460 to $290, making it a great everyday workstation.

It comes with 16GB DDR4 RAM and 512GB storage, supports dual 4K displays, and includes WiFi 6, Bluetooth 5.2, and 2.5GbE networking, which suits office setups, remote workstations, and compact business deployments.

Advertisement

The M5 Ultra with Ryzen 7 7730U and 32GB RAM has dropped from $650 to $500, offering plenty of headroom for demanding multitasking and heavier productivity work.

A 1TB NVMe SSD and triple 4K display support make it well suited for creative professionals who juggle large files, multiple apps, and multi-screen layouts.

There’s another M5 Ultra configuration with the same CPU, which is down from $460 to $400, offering a balanced mix of speed and value.

This model includes 16GB RAM, 512GB storage, dual 2.5GbE networking, and WiFi 6E, delivering the flexibility needed for multitasking workloads, server duties, or professional desktop use in tight spaces.

Advertisement

In our review of the M5 Ultra mini PC we called it a “quiet, highly flexible option for a general-use PC.”

Finally, if you’re looking for something capable but more affordable, the Ryzen 5 3500U powered Nucbox G10 model is now priced at $300 instead of $400.

With 16GB RAM, a 512GB SSD, and triple 4K display capability, it fits nicely into home offices, media setups, or small business environments that need reliable performance without taking up desk space.

In our review we called it “a terrific little system that can easily be upgraded to handle larger tasks with more memory and storage.”

Advertisement

For more choices, take a look at our round up of the best mini PCs you can buy.

Source link

Continue Reading

Tech

Ireland has ‘one of the worst disability employment records’, finds report

Published

on

The ODI’s report urges CEOs and Government leaders to better implement systemic changes to integrate people with disabilities into the Irish workforce.

The Open Doors Initiative (ODI), an NGO that creates opportunities for marginalised people to enter the workforce, has launched the From Awareness to Action: Ireland’s Business and Policy Roadmap to Closing the Disability Employment Gap report. 

Developed in partnership with EY and informed by roundtables with business leaders, policymakers and individuals with lived experience, the report explores how, despite near full employment, Ireland maintains one of the highest disability employment gaps in the European Union.

According to the report, 22pc of people in Ireland live with a disability, yet less than half (49.3pc) of those who are of working age are employed, compared to 70.8pc of people living without a disability. This 21.5pc employment gap is among the largest in the EU, according to the ODI. 

Advertisement

The ODI is of the opinion that for businesses, this represents a significant missed opportunity, as companies leading in disability inclusion were found to have 28pc higher revenue and have twice the net income according to previous research from Accenture.

Commenting on the findings of the report, Jeanne McDonagh, the CEO of ODI said: “Ireland is facing a stark reality. Inaction in tackling this paradox further increases the risk of poverty and social exclusion for members of the disabled community. We can no longer view disability inclusion as a ‘social issue’ managed by the state through welfare. 

“It is a systemic failure within the labour market and a missed economic opportunity for Irish businesses. As a CEO with a disability myself, I stand here to advocate for the hiring of my peers. When barriers are removed and an equitable playing field created, people can work to their full potential.”

Changing the tone

The ODI said there needs to be a “fundamental shift from corporate social responsibility (CSR)”, which is often viewed as “charity”, to corporate social justice, which demands that businesses “actively dismantle systemic barriers within their core operations to ensure equity, dignity and justice”. 

Advertisement

“This involves designing workplaces for human diversity, building trust through transparent data, equipping managers with practical tools and crucially, placing disability representation at the leadership table,” said the ODI.

“The business case for inclusion is clear: diverse and equitable organisations are more adaptive, innovative and resilient,” said McDonagh. “They bring creativity, problem-solving and a different lens, all of which benefits the bottom line and strengthens stakeholder capitalism. This is not simply a matter of compliance, it is a strategic imperative.”

Onwards and upwards

The report offered a roadmap for how change can be implemented across the board, starting with three phases: foundation, embedment and transformation, as well as five priority recommendations for businesses and the Government. 

Among the recommended steps, the ODI’s report calls for the redesigning of recruitment and workplace systems for inclusion by default, wherein companies move beyond what can be seen as initial advocacy and truly embed the core concepts of accessibility and flexibility from the get go. 

Advertisement

The ODI also said there should be efforts to build employer and business trust via clear information and communication. Managers should be equipped with practical and proactive tools that move beyond limited awareness training and instead offer vital resources and clear guidelines. 

The report also suggested that Government action is needed to reduce the financial risks that come with employment for disabled people. This would involve decoupling essential supports from employment status and implementing a permanent, non-means tested cost of disability payment.

Lastly, the ODI suggested an increase in the visibility of disability leadership, wherein there are significant efforts put in to ensure that people with the lived experience of managing a disability are present in leadership and decision-making roles.

“Businesses play a pivotal role in driving this change, but Government initiatives are equally crucial,” said McDonagh. 

Advertisement

“By investing in education, addressing the cost of disability and simplifying support systems, policymakers can empower individuals with disabilities and enrich our society and economy. I urge you to join Open Doors as a partner and help us build on this work, ensuring Ireland becomes a leader in disability inclusion.”

Don’t miss out on the knowledge you need to succeed. Sign up for the Daily Brief, Silicon Republic’s digest of need-to-know sci-tech news.

Source link

Advertisement
Continue Reading

Tech

4 Cool Perks You Didn’t Realize Came With Owning A Subaru

Published

on





Purchasing a new set of wheels can be fun, but many people also find it stressful. There are numerous factors to consider when you buy a new car (or even one that’s new to you). Once you determine your budget, you have to think about the size of the vehicle and cargo capacity, tech and safety features, and even the color. About half of us also tend to stay loyal to the brand we already own — if we find something we like, we tend to stick with it.

According to JD Power, SUV owners tend to be even more loyal to Subaru, with about 60% returning to the brand. The automaker provides perks to entice owners to stay with them, including trade-in and trade up programs that seek to help owners upgrade. But there’s more to enticing owners to stick with a brand than simply assisting them with their next vehicle purchase. To help incentivize repeat purchases and create a sense of community, Subaru offers owners additional exclusive benefits. Whether you own the popular Outback, the electric Solterra, or any other model from the automaker, here are four perks that you might not realize are available to all Subaru owners.

Advertisement

Discounted pet insurance

Your furry friend is an essential part of your family. Whether you share your life with a dog enjoying long walks or games of fetch or a cat that loves to snuggle on your lap and rumble with purrs, there’s no doubt that many of us would do just about anything for our pets. However, the cost of annual check-ups, vaccinations, and unexpected emergencies means those vet bills can pile up fast.

You may have considered pet insurance before and dismissed it due to the cost. However, if you own a Subaru, you can get discounted insurance through Liberty Mutual. The insurance company offers three types of coverage policies: accident, accident and illness, and accident, illness, and wellness. The first includes protection against accidental injury, including ingestion of foreign objects. Illness coverage helps if your pet gets sick and includes alternative medicine, behavioral therapy, and treatment for hereditary and congenital conditions, as well as everything covered under the previous tier. The most comprehensive policy also adds wellness coverage and includes dental cleanings, prescriptions, vaccinations, and more. You can visit Liberty Mutual’s Subaru Pet Insurance site to start your personalized quote and see how much you can save. Be sure to compare to competitors to ensure you’re getting the best deal.

Advertisement

Badge of ownership

A Subaru badge of ownership may not be as exciting as discounts or freebies, but it’s a fun way to show your enthusiasm and interests whether you’re a first-time Subaru owner or a long-time fan of the Japanese automaker. To build your own custom badge, you can visit the Subaru gear website and enter your VIN number, model, and model year. Then, your custom badge is free.

The badge first displays how many Subaru vehicles you’ve owned. Then, you can select from a dozens of additional icons that best represent your lifestyle, interests, or passions. There are those that represent breast cancer awareness, camping, teaching, recycling, military service, a love of pets, cycling, and more. Additionally, at time of writing there are select Premium badges that are available for a small fee of $5. These include those representing pickleball, a musical treble clef, a rainbow peace sign, and more.

Advertisement

The badges aim to connect a community of Subaru owners and also allow each driver to express their individuality, all while celebrating their commitment to the brand.

Advertisement

Trade-in and Trade Up programs

Once you’re ready to move on, there are several things you can do to prepare your vehicle to trade it in for a new model, but Subaru wants to help — provided that you’re already a Subaru owner, that is. The company’s Guaranteed Trade-In Program is designed to give owners a leg up by maximizing trade-in value for their vehicle. Owners simply enter their VIN number and their vehicle’s current mileage to get a trade-in quote, though you should note that as of April 2026, the value of your trade-in is based on maximum allowable vehicle mileage at the time of sale. For example, if you own a 2018 model, you cannot have more than 100,000 miles on the car. If your vehicle exceeds that, the trade-in value is reduced by $0.20 for each mile over the limit.

Active leased and commercial vehicles do not qualify for the trade-in program. Additionally, if you live in Hawaii you are not eligible, though all of the other 49 states qualify. If your vehicle was repaired following a collision that required panel or parts replacement, it is also disqualified from the program. Additional criteria and exclusions apply.

The automaker also offers a Trade Up Program, which is intended to help you upgrade to a vehicle with more advanced features and technology. Eligible owners receive a personalized offer tailored for their situation that they can then customize to ensure their new vehicle has everything they want. Subaru also touts the new warranty and lower maintenance costs on upgraded vehicles. To learn more, you can contact a participating retailer.

Advertisement

Financial and other assistance programs

Buying a new car can be stressful, but Subaru offers discounts and other programs to help you afford that new ride. If you’re a teacher, you can take advantage of Subaru’s VIP Educator Program, which rewards active classroom teachers who work in pre-K through grade 12, giving them $500 off the purchase or lease of a new vehicle. A valid ID is required for this discount. Active duty military can also receive a $500 discount off the purchase or lease of a new Subaru. This program is also open to reserve members of the military, all military retirees, and veterans that are within 24 months of separating from the military. The VIP Educator Program and the Military Program cannot be combined with other VIP program offers, but they can be combined with other incentives.

Subaru doesn’t stop there — if you’re about to graduate from college or you recently graduated, you can take advantage of the company’s College Graduate Program for both leases and loans through Subaru Motors Finance. This program is intended to give individuals with limited credit history competitive rates and matches a down payment up to $500. Finally, if you use a mobility device or are a person with a mobility disability, Subaru wants to help you modify your vehicle so that it meets your specialized needs. The automaker’s Mobility Assist Program provides reimbursements up to $1,000 on new vehicles to help pay for those modifications. All Subaru models can be modified for a left-hand gear shifter, hand and foot controls, pedal extensions, and more.

Advertisement



Source link

Advertisement
Continue Reading

Tech

Video service Vimeo confirms Anodot breach exposed user data

Published

on

Vimeo

Vimeo has disclosed that data belonging to some of its customers and users has been accessed without authorization following the recent breach at the Anodot data anomaly detection company.

The video platform says that the threat actor accessed email addresses for some of its customers, but most of the exposed information included technical data, video titles, and metadata.

“We have identified that, as a result of the Anodot breach, an unauthorized actor accessed certain Vimeo user and customer data. Our initial findings suggest that the databases accessed primarily contain technical data, video titles and metadata, and, in some cases, customer email addresses,” Vimeo states.

image

The Vimeo breach was claimed by the infamous extortion group ShinyHunters, who threatened to publish the stolen data by April 30 unless the company paid a ransom.

Vimeo is a video hosting and streaming platform, one of the largest alternatives to YouTube, enabling over 300 million registered users to upload, host, and share high-quality videos.

Advertisement

The company employs over 1,100 people, has an annual revenue of $417 million, and is publicly traded on the Nasdaq stock market.

Yesterday, ShinyHunters listed Vimeo on their extortion portal, claiming to have data from the company’s Snowflake and BigQuery instances.

Apart from threatening to leak the data, the actor also issued a warning to the company, stating that the platform should expect “several annoying digital problems.”

Shiny
Source: BleepingComputer

The Anodot incident involved attackers stealing authentication tokens and using them to access customer environments, primarily Snowflake, and exfiltrate data from multiple organizations.

The activity has been linked to the ShinyHunters extortion group, which is now attempting to monetize the breach through extortion and by threatening to leak the stolen data from various downstream victims.

Advertisement

One of those victims was game development studio Rockstar Games, with ShinyHunters claiming to have exfiltrated more than 78.6 million records.

In the case of Vimeo, however, the impact remains unclear as the actor did not state the amount of stolen data.

Vimeo has specified that the exposed data does not include video content users uploaded on the platform, account credentials, or payment card information. Also, the platform’s operations remained unaffected.

The company has now disabled all Anodot credentials and removed the service’s integration with its systems.

Advertisement

Vimeo is now investigating the incident with the help of third-party security experts and has also notified law enforcement authorities.

The firm promised to provide updates if the investigation uncovers important new information about the incident.


article image

AI chained four zero-days into one exploit that bypassed both renderer and OS sandboxes. A wave of new exploits is coming.

At the Autonomous Validation Summit (May 12 & 14), see how autonomous, context-rich validation finds what’s exploitable, proves controls hold, and closes the remediation loop.

Claim Your Spot

Source link

Advertisement
Continue Reading

Trending

Copyright © 2025